電話:+86 020-38276221
13902259265
傳真:+86 020-38276221
郵箱:sale@batte.cn
地址:廣州市天河區龍洞迎龍路191號
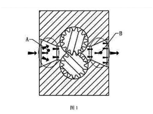
現所使用的熔體泵,由于入料口與出料口腔體容積過大,塑料熔體在機體A位置和B位置滯留時間過久(圖1),容易出現塑料熔體在機體中降解碳化,影響制品的質量,特別是對溫度敏感的塑料。要解決這一情況,就必須經常停機清理機體中的殘料,浪費大量的人力、物力。鄭州巴特針對這一情況,提供一種熔體泵機體的改良結構,將減少進料口和出料口的容積,降低塑料熔體在機體中的滯留時間。

鄭州巴特熔體泵廠家提供的熔體泵機體改良結構,是在進料口和出料口處設置有鑲塊,鑲塊中部具有分流梭,分流梭將鑲塊內通孔形成兩個通道,熔體從鑲塊進料口進入時,遇到分流梭分沿兩個通道流入機體內部,熔體從機體內部流經出料口處鑲塊,遇到分流梭沿兩個通道流出機體。分流梭與鑲塊為一體式結構,分流梭的截圖呈菱形。
改進后的熔體泵機體結構,由于在進料口和出料口處設置了帶分流梭的鑲塊,熔體遇到分流梭就沿兩個通道流入或流出,這樣有效減少了進料口和出料口的容積,減少了塑料熔體在該位置的滯留時間,避免塑料熔體在機體中降解碳化,提高產品質量。鄭州熔體泵廠家咨詢熱線:0371-67993077